Данное оборудование применяется для выявления и измерения глубины поверхностных дефектов в основном материале (раковины, задиры) и сварных соединениях (подрезы, чешуйчатость, межваликовые западания) на этапах производства, строительства и монтажа.
Прибор включает три основных компонента:
1. Индикатор часового типа ИЧ-10 – обеспечивает точное измерение глубины дефектов с высокой детализацией.
2. Установочная планка – фиксирует устройство на поверхности изделия, гарантируя стабильность измерений.
3. Сменные измерительные насадки (3 шт.) – позволяют адаптировать прибор к различным типам дефектов и конфигурациям швов.
Универсальность применения – подходит для контроля трубопроводов с наружным диаметром от 219 до 1420 мм. Стабильность позиционирования – особая конструкция планки исключает смещение прибора во время измерений.
0,4 кг
Масса комплекта
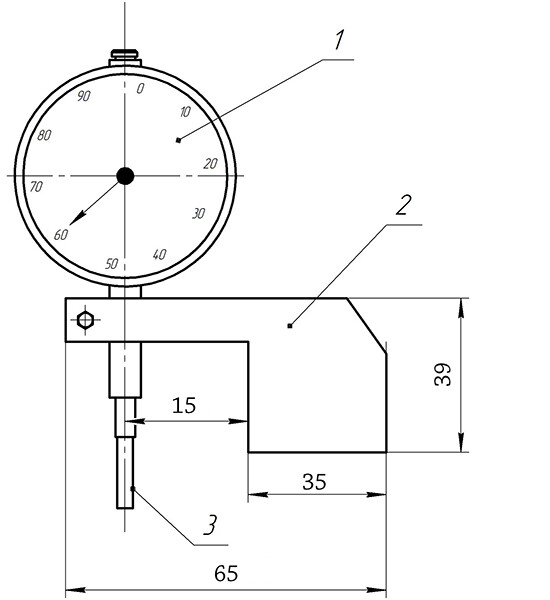
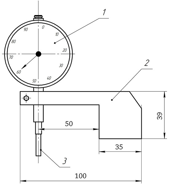
RFT ПИГП планки: короткая (65 мм) и длинная (100 мм). По принципу действия прибор относится к индикаторным глубиномерам с опорной планкой. Измеритель глубины подреза соответствует требованиям инструкции по визуальному контролю РБ «Методические рекомендации о порядке проведения визуального и измерительного контроля».


1 – Индикатор часового типа ИЧ-10
2 – Опорный кронштейн
3 – Измерительная насадка
| Характеристика | RFT ПИГП c короткой планкой (65 мм) | RFT ПИГП c длинной планкой (100 мм) |
|---|---|---|
| Диапазон измерений | 0-10 ±0,015 мм | 0-10 ±0,015 мм |
| Цена деления | 0.01 мм | 0.01 мм |
| Расстояние от опорного кронштейна до центра измерительной насадки | 15 мм | 50 мм |
| Максимальное расстояние от поверхности основания до нижнего края консоли | 28 мм | 28 мм |
| Габаритные размеры ДхШхВ | 65х13х39 мм | 100х13х39 мм |
| Масса комплекта, не более | 0,4 кг | 0.4 кг |
Введите ваше Имя и Фамилию:
Отправитьили
Войдите, чтобы оставить комментарий